首页 > 信息公开 > 泗县司法局 > 行政权力运行 > 行政权力运行依据、条件及程序
阅读人次:  
【字体:

泗县司法局2025年版行政权力流程图

发表时间:2026-01-20 15:11阅读人次: 信息来源:泗县司法局
【字体:

 

 

 

 

 

 

 

 

 

 

 

 

 

 

 

 

 

 

 

 

 

 

对没有取得律师执业证书的人员以律师名义从事法律

服务业务的处罚

 

 

 

 

 

 

 

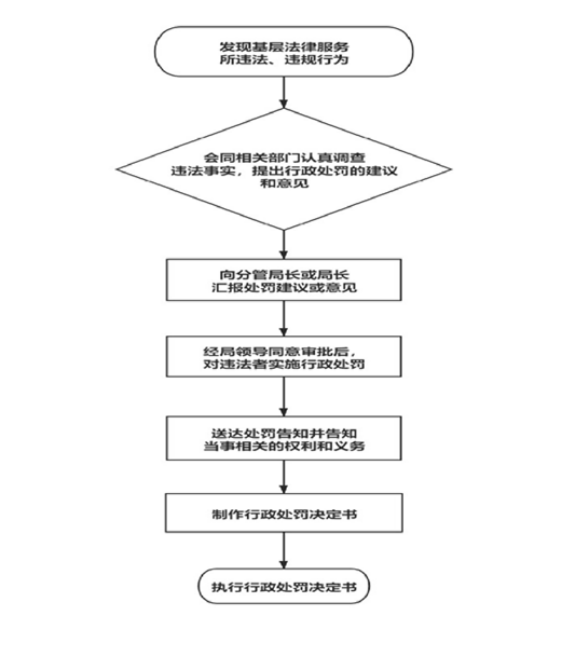
对基层法律服务工作者超越业务范围和诉讼代理执业区域等二十种行为的处罚

 

 

 

 

 

 

对基层法律服务所超越业务范围和诉讼代理执业区域等

十一种行为的处罚

 

 

 

 

 

 

 

律师事务所年度检查考核

 

 

 

 

 

 

 

 

 

 

 

 

 

 

对申请人不服法律援助机构作出的不符合法律援助条件的通知的异议审查

 

 

扫描二维码随身看资讯

正在阅读:泗县司法局2025年版行政权力流程图